廣東宏石激光技術股份有限公司主要從事激光切割設備的研發、生產和銷售業務,爲用戶提供全方位、一體化的激光加工智能解決方案,客戶遍佈於精密器械、汽車配件、廚衛五金、電子電氣、智能家居等諸多領域,目前該公司正在申請上市。
根據本次招股書披露,宏石激光的孫公司HSG株式會社租用了“日本千葉縣千葉市美濱區中瀬一丁目6番”,以及日本國立千葉大學所擁有的“千葉大學千葉市稻毛區彌生町1-33知識密集型聯合研究中心大樓203”兩處房產,用於公司日本研發部辦公所用,前一處辦公場所租賃面積爲81.55平米,租賃期限是從2020年5月1日開始。
但是根據宏石激光此前於2021年7月發佈的第一版招股書,其中第127頁至129頁披露的“辦公用途相關租賃房屋”信息中,並未包含有位於日本的房屋租賃相關信息;但是當時招股書中披露公司已有了日本研發部。在此背景下,公司在2021年進行的信息披露中並未涉及後來披露的、租賃期從2020年5月開始的租賃房產,至於當時的日本研發部是否真實存在,以及後來披露的租賃期從2020年5月1日開始的租賃協議,是否爲公司首次發佈招股書之後倒籤協議等,宏石激光並未接受記者採訪。
值得關注的是,公司位於日本的第二處租賃辦公場所,也即向日本國立千葉大學租賃的房產面積爲100平米,租賃期是從2023年6月15日開始,也即在此之前公司的日本研發部僅有一處面積爲81.55平米的辦公場所,而最新招股書披露,在這一處81.55平米辦公場所開展經營活動的HSG株式會社,2022年總資產高達459.37萬元、營業額達383.33萬元。

再來看宏石激光的經營數據,招股書披露銳科激光是公司的第一大供應商,2021年和2022年採購金額分別高達24871.5萬元和22818.98萬元,是宏石激光最主要的激光器供應商。但是根據銳科激光此前發佈的2021年和2022年年報,當年的第一大客戶對應銷售金額分別僅爲1.57億元和1.29億元,都與宏石激光披露的採購金額相差巨大。

另據招股書第141頁披露,公司的核心產品平面光纖激光切割機的銷售均價一直不足50萬元,2022年還降至41.95萬元;專業光纖激光切管機是單價較高的產品類型,2022年銷售均價也僅爲55.08萬元。但是根據公開招投標資料顯示,宏石激光的激光切管機銷售均價卻顯著超過了招股書披露的水平。
例如庫卡機器人(廣東)有限公司激光切割機採購定標結果公告顯示,宏石激光以88萬元的價格中標,還有中國一拖集團有限公司收穫機具公司激光切割機採購項目評標結果公示,宏石激光也以80萬元的價格中標光纖激光切割機1臺,這也指向公司招股書披露的銷售均價,與其他公開信息之間存在顯著差異。

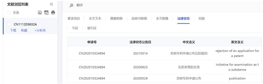
此外,根據招股書披露,“一種實時監測激光焦點的方法”是公司擁有的實用新型專利之一。據國家知識產權局數據披露,此項專利的公開時間爲2020年5月29日,發明人爲李宇紅、常勇,在申請初期原定申請的是發明專利,但在2021年5月被國家知識產權局駁回;另據宏石激光在2020年7月21日發佈的《第二次審查意見通知書》顯示,此項專利因申請的獨立權利要求以及從屬權利要求都不具備創造性被駁回。
上述專利的發明人爲李宇紅、常勇,其中常勇是宏石激光的董事長、實際控制人,僅爲大專學歷;李宇紅則未被招股書提及,也即並未作爲核心技術人員在列,也未在公司的員工持股平臺佛山宏陸中持股。據國家知識產權局數據檢索,李宇紅是宏石激光多項專利的發明人之一,但此人並未被列入核心技術人員。
