新京報訊 (記者徐倩)5月16日,據北京市規自委官網顯示,北京新增掛牌7宗住宅用地,總土地面積約31.05萬平方米,總建設控制規模約52.72萬平方米,總交易起始價184.2億元;競買申請起止時間爲5月16日9:00至6月19日17:00,掛牌競價起止時間爲6月6日9:00至6月20日15:00。至此,6月北京即將迎來17宗宅地掛牌競拍,總起始價超497億元。
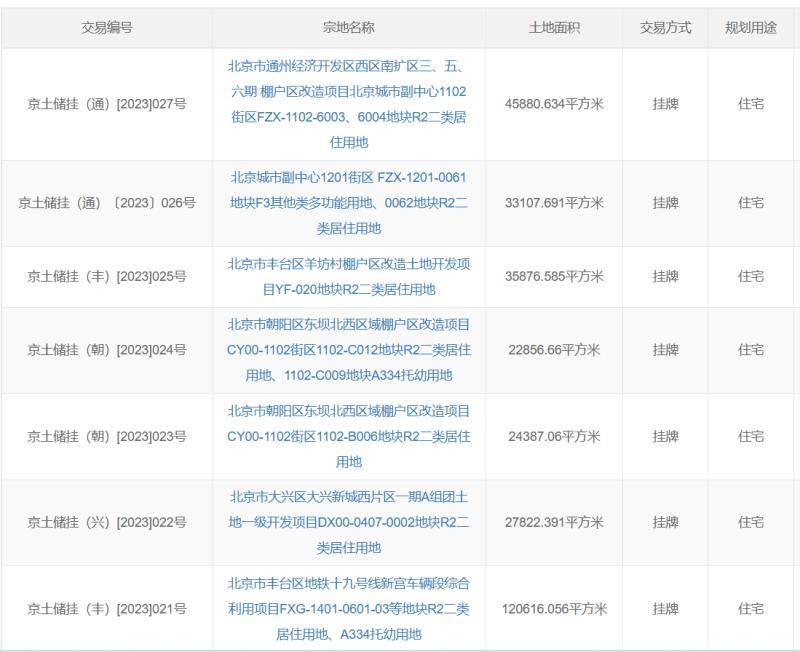
根據掛牌文件顯示,此次新掛牌的7宗地塊,包括朝陽東壩北西區C012、C009地塊,朝陽東壩北西區B006地塊,豐臺新宮車輛段綜合利用項目,大興新城西片區一期A組團土地一級開發項目DX00-0407-0002地塊,北京城市副中心1201街區FZX-1201-0061、0062地塊,北京城市副中心1102街區FZX-1102-6003、6004地塊和豐臺羊坊村棚改地塊。
其中,朝陽東壩北西區C012、C009地塊佔地面積約2.29萬平方米,建築規模約4.51萬平方米,住宅容積率2.2,控高60米,配建9班幼兒園,起始價22.4億元;B006地塊佔地面積約2.44萬平方米,建築規模約5.85萬平方米,容積率2.4,控高60米,起始價31.5億元。朝陽東壩兩宗宅地所在區域也是朝陽區未來發展的重點區域,將集聚自貿區、商業、產業、國際學校等配套資源,周邊新房指導價均爲8.6萬元/平方米。
位於豐臺區的地鐵19號線新宮車輛段綜合利用項目佔地面積約12.06萬平方米,建築規模約12.55萬平方米,控高60米,包括居住用地和托幼用地,起始價50億元。
此外,豐臺羊坊村項目佔地面積約3.59公頃,建控規模約7.89萬平方米,交易起始價30.1億元。該地塊位於京良路與豐園路交叉口西側,與南五環直線距離約600米,用地性質爲R2二類居住用地,容積率2.2、控高30-45米。
5月16日北京掛牌地塊一覽

圖/北京市規自委官網截圖