國家統計局今天發佈的4月份商品住宅銷售價格變動情況統計數據顯示,4月份,70個大中城市商品住宅銷售價格環比整體漲幅回落、二手住宅環比漲幅回落更爲明顯;各線城市商品住宅銷售價格同比上漲或降勢趨緩。根據統計,4月份,一線城市新建商品住宅銷售價格同比上漲2%,漲幅比上月擴大0.3個百分點;二手住宅銷售價...
5月17日,澎湃新聞從山東省青島市自然資源和規劃局網站獲悉,2023年,青島市國有建設用地供應計劃總量爲4672公頃。在供應結構方面,住宅用地計劃供應659公頃,佔總量的14.1%,其中商品住宅用地計劃供應456公頃,同比減少38.14%,佔住宅用地供應量的69.2%;保障性租賃住房用地計劃...
5月15-17日,第十九屆國際綠色建築與建築節能大會暨新技術與產品博覽會在瀋陽市成功舉辦。本次大會以“推廣綠色智能建築,促進城市低碳更新”爲主題,得到了各界的大力支持,吸引了國內外行業人士和企業的廣泛關注和參與。國際歐亞科學院院士、住房和城鄉建設部原副部長仇保興在開幕報告中提出了綠色建築的...
5月17日,北京市統計局發佈《2023年1-4月北京市房地產市場運行情況》。報告顯示,1-4月,全市新建商品房銷售面積爲345.2萬平方米,同比增長36.5%。其中,住宅銷售面積爲246.6萬平方米,增長33%;辦公樓爲25.8萬平方米,增長65.3%;商業營業用房爲25.6萬平方米,增...
5月17日,北京市規自委網站發佈2023年第二輪擬供應商品住宅用地清單,共涉及29宗用地,土地面積158公頃,地上建築規模307萬平方米。據悉,這29個項目將最晚於9月初組織發佈出讓公告。公告顯示,此次擬供地中,房山供地最多,共有6宗地塊;其次是豐臺,供應4宗地塊;通州、大興、順義、昌平各有3宗地...
國家統計局17日公佈的4月份商品住宅銷售價格變動情況統計數據顯示,4月份商品住宅銷售價格環比整體漲幅回落。國家統計局城市司首席統計師繩國慶介紹,4月份,70個大中城市中商品住宅銷售價格環比上漲城市個數減少,同比上漲城市個數增加。70個大中城市商品住宅銷售價格環比整體漲幅回落、二手住宅環比漲幅...
5月15日,我愛我家在品牌戰略發佈會暨23週年慶上宣佈:我愛我家已與湖北麻城市、紅安縣達成合作協議,通過認領+種植的方式,打造“千畝愛家橙意公益林”,今後結出的橙子將以公益的方式回饋社區,我愛我家通過鄉村振興與社區友好,架起一座跨越山海的橋樑。這是我愛我家在履行公益方面的又一創新嘗試。我愛我家...
初夏暖陽,萬物生長。在這個美好的時節裏,國浩·18T正式迎來交付的重要時刻。不負期待,在歷史文脈土地十八梯之上與美好相向而行,實現對高品質城市核心人居的承諾。以初心爲筆,書寫生活的答案對於國浩·18T而言,此次交付不只是一次簡單的儀式,更是對初心的回應。從當初滿懷期許到如今實景可見,國浩·18T...
新京報訊(記者袁秀麗)5月16日,據廣州市房地產中介協會官微顯示,廣州推出不動產登記支持高質量發展“新十條”舉措。其中包括壓縮不動產登記業務辦理時限、擴大不動產登記服務範圍等。在優化不動產登記業務辦理流程方面,“新十條”明確,壓縮不動產登記業務辦理時限。實現預購商品房析產預告登記、提交繼...
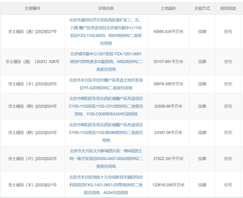
新京報訊(記者徐倩)5月16日,據北京市規自委官網顯示,北京新增掛牌7宗住宅用地,總土地面積約31.05萬平方米,總建設控制規模約52.72萬平方米,總交易起始價184.2億元;競買申請起止時間爲5月16日9:00至6月19日17:00,掛牌競價起止時間爲6月6日9:00至6月20日15:00...
新京報訊(記者徐倩)5月17日,北京統計局發佈今年前4個月北京市房地產市場運行情況。北京統計局數據顯示,1-4月份,北京市新建商品房銷售面積爲345.2萬平方米,同比增長36.5%。其中,住宅銷售面積爲246.6萬平方米,同比增長33%;辦公樓爲25.8萬平方米,同比增長65.3%;商業營業用...
帶押過戶的出現,給傳統的二手房交易帶來新模式。近日,深圳市規劃和自然資源局發佈了《不動產“帶押過戶”登記申辦指引》,該指引明確了三種服務模式、申請的主體、需提交的申請材料、申請流程、辦理期限等相關事項。不過,記者實地走訪發現,許多購房者期盼相關部門能加大推廣,儘快明確更爲清晰的細則。深圳...
今年以來購房支持政策成效持續釋放。從5月16日國家統計局發佈的最新數據來看,前4月,全國商品房銷售情況、房企資金狀況都有改善,其中,商品房銷售面積降幅收窄至0.4%,基本止跌;商品房銷售額增幅擴大。另外,國房景氣指數也連續4個月提高。此外,雖然房地產開發投資繼續下降,但是商品住宅竣工量大幅增長,...
5月16日,成都完成5月第二場土拍。本場土拍共成交4宗地,2宗位於主城區、2宗位於近郊區,總成交面積爲166畝,總成交規劃建面爲21.32萬平方米,總成交金額爲24億元。本場土拍中熱度最高的地塊爲主城高新區中和街道31畝純宅地,吸引了18家房企競拍,價格觸頂“熔斷”,在搖號階段,由華潤置地以總價8...
近期,南昌、合肥、蘇州、上海、廣州、河南等地相繼出臺了住房公積金支持政策。鄭州、銀川等省會城市出臺公積金政策,支持提取公積金支付購房首付。業內人士表示,此舉有利於拓展公積金使用範圍,盤活住房公積金,減輕購房者置業壓力,提振購房者置業情緒。可支付購房首付鄭州市住房公積金管理中心網站近日披露...