◎本報記者吳純新通訊員朱勇進劉波打開武漢地圖,沿着高新大道一路向東15公里,再往南縱深8公里,一顆閃亮的科技明珠正冉冉升起。深部岩土工程擾動模擬國家重大科技基礎設施、國家作物表型組學研究重大科技基礎設施等一系列重大項目建設如火如荼,寬闊平坦的道路上車流如梭,主道支路連網成環,一派繁忙景象...
◎本報記者吳純新通訊員成升成果轉化一頭連着科技創新,一頭連着產業創新,是加快形成新質生產力的關鍵變量,也是武漢市建設具有全國影響力的科技創新中心面臨的核心課題。兩年來,武漢通過建平臺、強服務、巧作爲,全力打造以“用”爲導向的科技成果轉化體系,逐步形成科技成果轉化“武漢模式”。一是供需對接...
◎本報記者孫瑜高溫合金支撐航空發動機運轉,讓C919大飛機翱翔藍天;鋰電池隔膜守護核心動力安全,助新能源汽車駛得更遠;高流線型碳纖維葉片提升發電效率,使風電機組點亮萬家燈火……這些與我們生活息息相關的成果背後,新材料發揮着重要支撐作用。“新材料產業是戰略性、基礎性產業,是未來高新技術產業發展...
◎本報記者孫瑜2023年,中國製造“新三樣”——電動載人汽車、鋰離子蓄電池和太陽能電池合計出口首次突破萬億元,高於整個出口增速29.3個百分點,代替服裝、傢俱、家電“老三樣”產品扛起了我國外貿出口大旗。“新三樣”走俏海外,化工新材料產業功不可沒。“近年來,我國光伏產業發展迅速。這離不開電池...
3月8日,辛選集團創始人辛巴辛有志開啓龍年首場直播,累計引導銷售額超5.4億元,其中,蜜絲婷防曬上架即被秒空31萬件,辛選自營品牌棉密碼衛生巾銷售額超3700萬。直播前,辛巴通過短視頻送給所有女性用戶一場唯美的花瓣雨,“願2024年大家都能好好愛自己”。在精心打造的電影級別的花海走廊中,辛巴...
聯合國世界知識產權組織(WIPO)近日公佈的數據顯示,受全球經濟不確定性和利率上升影響,2023年全球專利申請量出現了14年來的首次下降。儘管面臨全球範圍內的挑戰,中國仍然穩坐國際專利申請的頭把交椅,而印度則成爲少數實現強勁增長的國家之一。根據WIPO發佈的年度概覽,2023年國際專利申請...
2024年新春伊始,安徽省合肥市廬陽區智能傳感器產業園、未來創谷產業園、科學儀器產業園等一批新興產業集聚園區集中開工。其中,智能傳感器產業園擬規劃建設集研發、中試、生產以及辦公配套等於一體的綜合性產業園區,滿足傳感器智能製造及上下游產業需求;未來創谷產業園擬規劃建設以總部研發、成果轉化、企業孵化...
安徽省委、省政府近日在合肥召開全省科技創新大會。會上提出,要堅持以科技創新推動產業創新,構建以企業爲主體的科技創新體系,提高科技成果轉化和產業化水平,以新技術培育新產業、引領產業升級,不斷培育壯大新質生產力。在科技創新驅動下,近年來,安徽產業不斷向高處攀登,戰略性新興產業產值佔規模以上工...
煙臺黃渤海新區越秀星匯金沙小區居民陳有勝家中,綠植蔥鬱、溫暖如春,“供暖溫度比去年高了2℃至3℃,效果比預期的更好”。這個供熱季,越秀星匯金沙小區不再依靠傳統煤炭供暖,而是通過全球首創的“零碳”供熱技術,將化工的廢熱轉化爲供暖的熱源,大幅降低二氧化碳排放。化工餘熱從何而來?正是作爲2023...
“對於奶業來說,要通過科技創新加速產業升級,推動中國奶業走向更高效和更可持續的發展道路。”全國人大代表、伊利集團全球創新中心科學研究總監王彩雲表示,要繼續圍繞全產業鏈進行創新,解決全產業鏈技術瓶頸,加速推動技術成果轉化和應用,提升中國奶業的核心競爭力。在培育人才方面,王彩雲代表建議,要鼓...
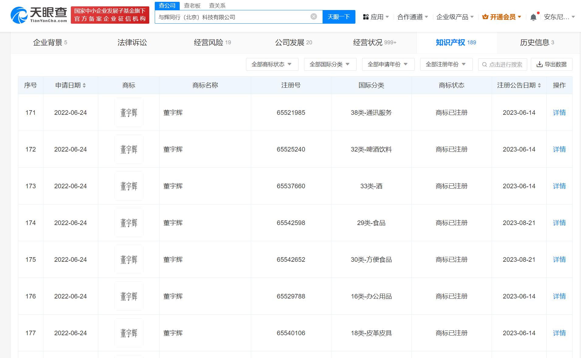
近日,根據天眼查的信息顯示,東方甄選關聯公司東方優選(北京)科技有限公司完成了一項重要的商標轉讓,將其註冊的多枚“董宇輝”圖文商標轉讓給了與輝同行(北京)科技有限公司。這一行動標誌着東方甄選在品牌戰略上的一次重要調整,同時也爲董宇輝的新賬號“與輝同行”在抖音平臺上的發展提供了更加堅實的品...
當前,數字經濟正逐漸成爲中國經濟的重要組成部分。在數字化轉型的大潮中,各行各業都在積極擁抱新技術,推動產業升級。政府、企業以及社會各界都深刻認識到,數字經濟不僅能夠提高生產效率,降低成本,還能帶來全新的商業模式和消費體驗。因此,數字經濟的快速發展,對於促進中國經濟高質量發展,實現從高速增...
3月8日消息,據香港南華早報報道,3月7日,香港金融管理局宣佈展開批發型央行數字貨幣(wCBDC)項目試點,這是全球首個針對代幣化存款、代幣化資產和央行數字貨幣結算的平臺。它還將組建一個“架構社區”來制定通用標準。據知情人士透露,微軟和螞蟻數科等公司將加入該社區。公開資料顯示,螞蟻數科在2023...
在數字的海洋中,分析師將一組組數據排列組合,尋找其中的有序性與價值點。在人生的旅途中,分析師又如何從一段段時光中感知豐盈,探索生活的真諦與意義?值“三八”國際婦女節來臨之際,記者與一位IT市場研究領域的女性進行了一次溫暖而有力量的訪談。“海闊天空,悠然自在。”“遇到挑戰才說明人生目標足夠...
3月8日消息,嗶哩嗶哩(以下簡稱“B站”)於日前公佈了截至2023年12月31日的第四季度和全年未經審計的財務報告。財報顯示,2023年B站全年總營收達225.3億元人民幣,其中第四季度總營收達63.5億元。2023年,B站淨虧損48億元,四季度淨虧損13億元。“B站有信心在2024年第三季度實...