記者|王婷婷受支持股權融資的“第三支箭”利好影響,房企近期迎來一波配股潮。“雙十二”這天,新城發展(01030.HK)發佈公告稱,在12月10日,已與配售代理訂立配售及認購協議,配售代理同意盡最大努力促使不少於六名買方購買銷售5.6億股股份,配售價3.5港元/股,所得款項淨額預期爲19.43...
每經記者陳榮浩深圳樓市開始出現了一些微妙變化。進入12月,開發商營銷手段出現了明顯分化,既有開發商繼續打折促銷,也有開發商收回折扣,甚至提價賣房。比如位於羅湖的亞太半山樾府項目,打出了“最高減免269萬,省下龍崗一套房”的宣傳口號;位於光明華潤的兩個盤(潤暉府和潤曦府)推出了“降價保差價...
日前,由中國社會科學院財經戰略研究院主辦的經濟學家房地產論壇在線上舉辦。與會專家學者圍繞中國租房市場發展的邏輯與路徑展開深入研討交流。中國社會科學院財經戰略研究院院長何德旭認爲,我國租房市場的發展滯後於商品房市場,也滯後於經濟社會發展的現實需要,發展租房市場是深化住房制度改革的重要組成部...
近期,上市房企紛紛披露拿地公告,保利發展等頭部房企拿地較爲積極。業內人士表示,今年以來,重點房企土儲下降,但市場主要矛盾仍集中在需求較爲疲軟。城投屬性的地方國企在土地市場託底拿地成爲常態。隨着民營房企資金陸續到位,其拿地積極性有望進一步提高。區域性房企拿地積極從近期房企披露的公告看,區域...
記者吳典寸土寸金的土地市場總是不乏“外來客”的身影,他們的每一次出場都足夠吸引外界眼球,尤其是在主流玩家數量驟減的當下。繼河南嵩山少林寺、賣男裝的紅豆之後,茅臺集團也在近期取得了今年土地市場的開門紅,其於12月2日以合計約10.54億元的底價摘下位於貴州省遵義市新蒲新區的兩宗商住用地。在易居...
近期,保障性租賃住房REITs(簡稱“保租房REITs”)再度受到市場關注。業內人士表示,發展保租房REITs,引導多主體投資,將有助於籌集長期權益資本,探索形成可持續發展的投融資模式。未來,保租房REITs有望持續擴容,市場化的長租房REITs也有望陸續破冰上市。提供長期低成本資金12月8日...
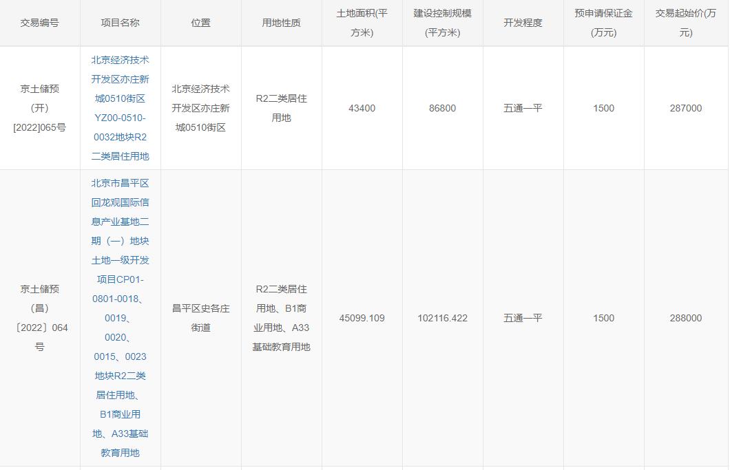
12月9日,北京市2022年第五批次集中供地正式開啓預申請,北京市規劃和自然資源委員會已掛牌兩宗預申請用地,分別爲昌平信息園二期地塊和亦莊新城0032地塊,總起始價57.5億元。其中,昌平信息園二期地塊起始價爲28.8億元,該地塊位於昌平區史各莊街道,東至農學院東路,南至七辛南街,西至京藏...
作爲重慶城市級的商務和居住標杆,重慶天地一直都是重慶城市封面之一。這裏有約458米陸海國際中心、約50萬方的重慶新商業聚集地,還有融合重慶人文底蘊,將建築、自然、城市匯聚的重慶高端人居。重慶天地是一個集居住、辦公、商業、消費、休閒、娛樂等爲一體的城中之城,是重慶渝中母城最受購房人關注的置...
滬深交易所日前落地市場首批“央地合作”模式民營房企融資支持試點項目,並實現全額增信支持。首批項目共涉及新希望五新實業集團有限公司(簡稱“新希望”)、美的置業集團有限公司(簡稱“美的置業”)、碧桂園地產集團(簡稱“碧桂園”)三家民營房企,三家公司合計簿記發行34.3億元公司債券。滬深交易所...
本報記者吳曉璐12月9日,新希望五新實業集團有限公司(簡稱“新希望”)和美的置業集團有限公司(簡稱“美的置業”)在上交所完成24.3億元公司債券簿記發行,碧桂園地產集團(簡稱“碧桂園”)在深交所成功簿記發行2022年第二期公司債券,發行規模10億元。3家民營房企合計發行公司債融資34.3...
近日,廣州地區的農業銀行、建設銀行、平安銀行、民生銀行和光大銀行等多家大中型銀行對個人房貸推出延期還房貸服務,延長期限從3個月到36個月不等。據記者梳理各家銀行披露的信息,申請個人房貸延期還款的人羣,主要包括因感染新冠肺炎住院治療或隔離的人員、疫情防控需隔離觀察的人員、參加疫情防控工作的人...
證監會推動REITs向長租房及商業不動產領域擴容12月8日,證監會副主席李超在中國REITs論壇2022年會上指出,加快打造REITs市場的保障性租賃住房板塊,研究推動試點範圍拓展到市場化的長租房及商業不動產等領域。一方面,保租房租賃REITs將進一步擴容,目前已有3只REIT上市,未來將陸...
11月13日,浙江省建築裝飾行業協會第七屆一次會員大會、裝飾行業高質量創新發展大會暨協會成立三十週年紀念大會在浙江省人民大會堂隆重召開。大會對在規範行業自律,推進產教融合,參與社會治理,承擔社會責任,助力脫貧攻堅,踐行裝飾綠色發展等方面有突出貢獻的先進集體與個人進行了表彰。其中,綠城建築科技...
每經記者劉頌輝12月8日上午,證監會副主席李超在“首屆長三角REITs論壇暨中國REITs論壇2022年會”論壇上介紹,我國基礎設施REITs試點啓動以來,各項工作平穩有序推進,市場認可度較高,形成了良好示範效應。李超表示,下一步,證監會將繼續推動更多優質項目發行上市,擴大REITs試點範圍,儘...
12月8日,中駿集團發佈公告,公告顯示,中駿已提前匯出款項,用於原定12月20日到期的購房尾款ABS的本息兌付,合計金額爲12.87億元。據悉,本次還款之後,中駿集團今年的境內外公開債務將全部如約償還,保持“零違約”記錄,年內累計償還金額超70億元。中駿集團以實際行動履行資本市場承諾,該舉動...