9月26日,魔方生活服務集團有限公司向港交所提交上市申請書,聯席保薦人爲摩根士丹利和建銀國際。自2009年在南京開出第一家門店以來,魔方生活服務已耕耘近十三年,若申請通過,這家公司或將成爲港交所長租公寓第一股。資料顯示,魔方生活服務是國內最早佈局集中式長租公寓賽道運營商,截至2022年6月30日...
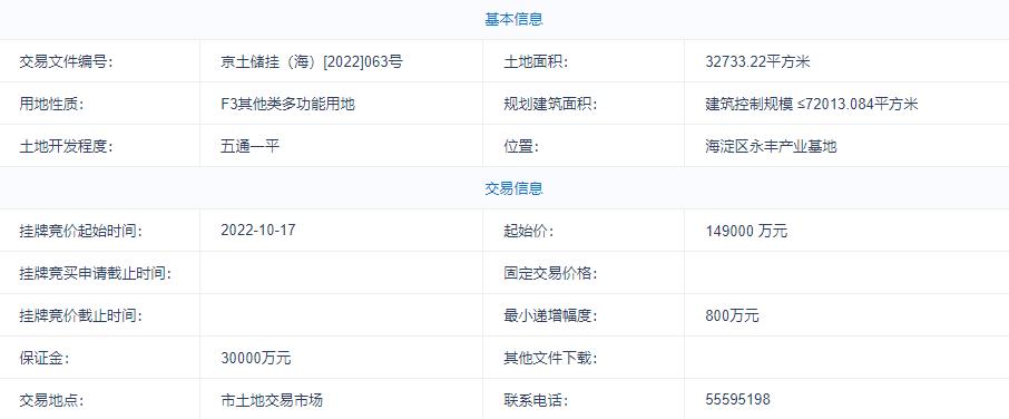
9月26日,北京市規劃和自然資源委員會官網新掛出兩宗商業用地,均爲F3其他類多功能用地,規劃用途爲商用,地塊位於海淀西北旺永豐,總起始價爲28.4億元。其中,京土儲掛(海)[2022]063號爲北京市海淀區西北旺鎮永豐產業基地(新)HD00-0403-009地塊,土地面積爲3.27萬平方米,建...
本報記者李正日前,甘肅省慶陽市印發《關於培育健康房地產市場擴大住房消費的實施意見》(以下簡稱“《意見》”)表示,慶陽市內購買普通商品住房,全面落實“不限購、不限價”政策,取消居民購買新建商品住房購買套數、戶籍要求等限制,商品房價格實行按需供應、市場調節,支持居民合理的住房消費需求。除上述...
進入“金九豐收季”,重慶樓市回暖跡象明顯,尤其是一些市場關注度極高的產品推新上市,更加激發了市場的潛在購買需求,比如位於觀音橋商圈的香港置地啓元,不僅連續領跑重慶樓市,更極大地提振了市場信心。持續加倉,香港置地篤定佈局觀音橋啓元是今年重慶樓市炙手可熱的項目,從年初起就持續佔據樓市熱銷榜,...
記者孫婉秋9月22日,萬物云爲期四天的募資結束,按照計劃其將於9月29日上市交易。至此,這家物企龍頭的資本化運作趨於完整,行業圍繞着它的期待與好奇都將迎來答案。無論是規模體量、行業地位亦或是對當前市場傳遞出的意義而言,這都是年內物管行業最重磅的上市案例。實際上,不僅僅是物管行業,此次萬物...
記者吳典今年8月開始,阿里法拍平臺陸續“上架”了56套位於深圳市南山區寶能城花園(東區)三期的房源,於9月20日至22日分批開拍。這一幕在法拍市場鮮少出現。作爲南山西麗片區三大豪宅之一,寶能城的成交單價曾一度達到15萬元左右,不少富商名流在此安家置業。隨着“寶能系”危機爆發,曾經的豪宅化作“...
9月23日,中國建設銀行股份有限公司(601939.SH)發佈關於斥資設立住房租賃基金的公告。公告顯示,基金募集規模爲300億元,其中建設銀行認繳299.99億元,子公司建信信託有限責任公司下屬的全資子公司認繳0.01億元。據悉,該基金的目標定位及投向爲:通過投資房企存量資產,改造爲租賃住...
記者龐靜濤9月23日,浙江省嘉興市海寧市人民政府網站發佈《關於印發<海寧市人才房票實施辦法(試行)>的通知》(以下簡稱“《通知》”)。《通知》顯示,符合條件的人才可申請人才房票,房票金額爲:A類人才一事一議;B類人才150萬元;C類人才120萬元;D人才80萬元;E類人才60萬元,其中出站後全...
記者李曉青據內蒙古日報全媒體“草原全媒”9月23日報道,內蒙古自治區呼和浩特市當日召開新聞通氣會,爲穩經濟大盤,引人才落戶,促首府經濟高質量發展,呼和浩特市政府制定多項購房惠民補貼政策,並於9月29日-10月31日舉行呼和浩特市“築巢引鳳·樂居青城”房產展銷月。通氣會上提到,呼和浩特市將於10...
每經記者王佳飛包晶晶近日,北京、上海等地相繼舉行今年第三批次土拍。雖然同爲一線城市,但兩地的土拍市場卻呈現出了明顯差異。從成交結果看,北京土拍市場回溫跡象明顯,國企央企融資成本較低,率先積極展開拿地。上海方面,在9月23日成交的23宗地塊中,有19宗地塊爲“僅一家企業報名”,均以底價成交,僅一家...
證券時報記者曹晨張達自7月底中央政治局會議首次提出“保交樓”、“穩民生”以來,“保交樓”進展和效果成爲了當下各方關注的焦點。國家統計局9月16日發佈的數據顯示,當前房地產市場出現一些積極變化,竣工面積等指標已經出現修復趨勢。數據顯示,8月份房屋竣工面積爲4833萬平方米,環比大幅增長42.50%...
本報記者李正爲提高二手住房交易效率,支持購房家庭合理住房需求,9月23日,北京市住房和城鄉建設委員會發布《關於試行存量房交易“連環單”業務並行辦理的通知》(以下簡稱《通知》)表示,將二手房交易“連環單”由過去的串聯辦理調整爲並聯辦理,縮短辦理時間。《通知》指出,“連環單”是指在同一時期內...
新華社北京9月24日電(記者吳雨)中國建設銀行23日晚發佈公告稱,擬出資設立住房租賃基金,基金募集規模爲人民幣300億元。公告稱,爲加快發展長租房市場,增加保障性租賃住房供給,建行擬出資設立住房租賃基金。其中,建行認繳人民幣299.99億元,該行子公司建信信託有限責任公司下屬的全資子公司認繳人民...
“帶押過戶”優化了二手房交易流程,對提振市場有一定積極作用,有助於更好地滿足剛性和改善性住房需求“帶押過戶”模式下,交易更依賴銀行,銀行的主動性和積極性應該進一步提升。同時,銀行、公證或擔保機構等介入二手房交易後,交易成本是否會上升是一個不確定因素,控制好成本是“帶押過戶”進一步推進的重...
本報記者王麗新十年,不過是歷史長河的一瞬,但對於中國房地產行業來說,可謂“砥礪前行正當時”。這期間,行業經歷過爆發式增長,亦從“全面開發”轉入“重點開發”,如今已步入理性成熟期,正向高質量發展階段邁進。這十年,全國商品住宅銷售面積累計132.34億平方米,是上一個十年的2.2倍。這十年,...