記者|王婷婷杭州土拍又一次無意外呈現出熱鬧場面,數十家房企聚集來此拿地。2月21日,杭州2023年第一批次集中供地啓幕。出讓的13宗涉宅地快總出讓面積815.4畝,總起價166.7億元,最終總成交價182.2億元,平均溢價率9.3%。相較2022年首批出讓795億元起價的規模,杭州本次集中供地在數...
記者|黃昱近期一二手房成交量普遍提升後,廣州樓市的“小陽春”回來了嗎?據界面新聞瞭解,最近兩週週末,廣州不少樓盤售樓處確實人氣滿滿,二手房帶看量也有明顯提升,成交量整體進入上行通道,但跟過去正常年份相比還是有差距。購房者觀望情緒仍然濃厚,開發商以價換量是主流,二手房價也未較年前有明顯上漲...
記者|黃昱時隔6年,私募投資基金通往房地產行業的道路重新被打通,且首次被正名。2月20日,證監會宣佈已於近日啓動了不動產私募投資基金試點工作。同日,中國證券投資基金業協會(簡稱“中基協”)發佈《不動產私募投資基金試點備案指引(試行)》(以下簡稱《指引》)。此次政策目的明確,即進一步發揮私募...
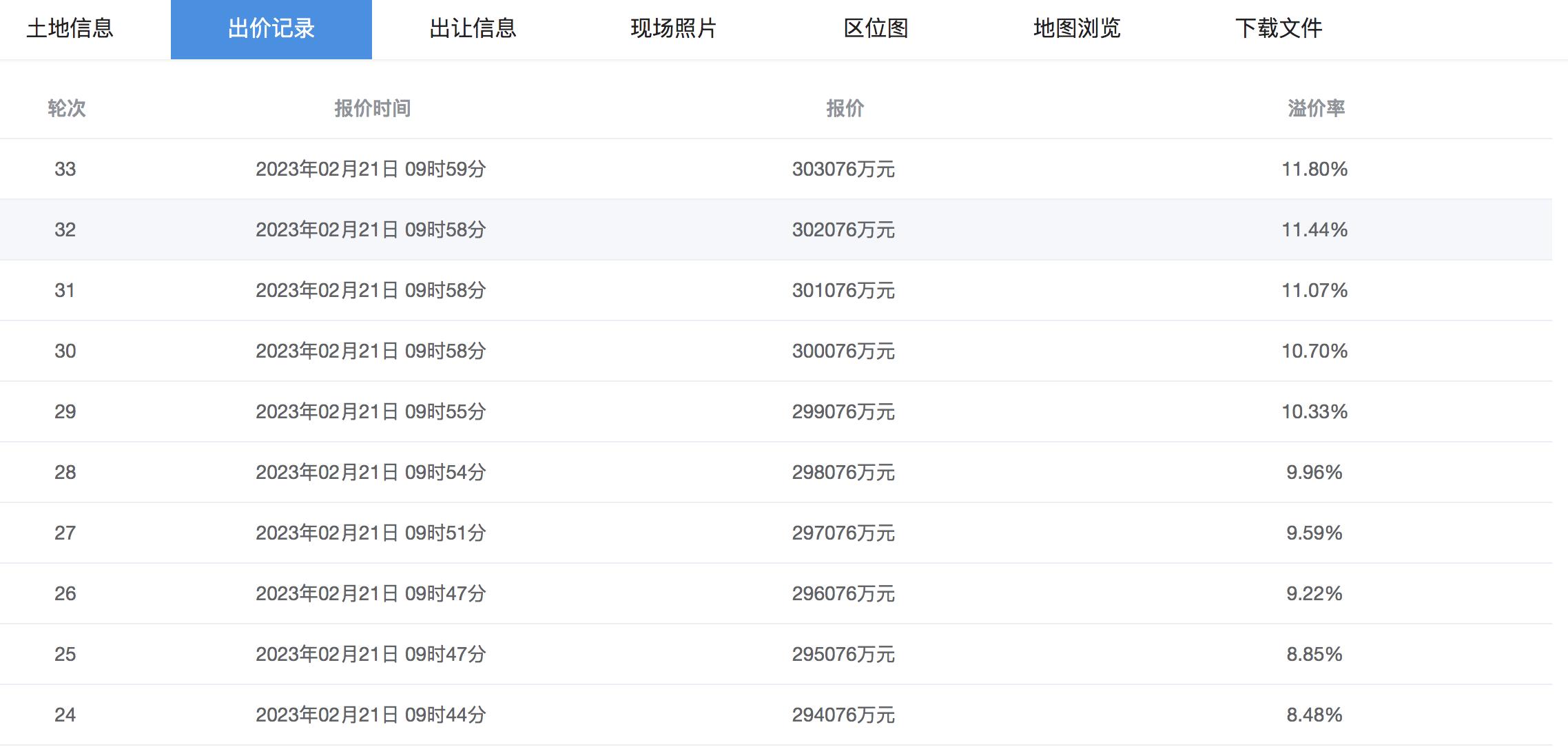
2月21日,杭州2023年首輪集中供地正式出讓。按照杭州市於1月17日發佈的國有建設用地使用權掛牌出讓公告,本批次共推出13宗涉宅地塊,其中上城區、濱江區、錢塘區、富陽區、臨安區各1宗,2宗位於蕭山區、4宗位於餘杭區、2宗位於臨平區,起始總價共計166.73億元。根據2月21日土拍結果,13宗...
“據說我們片區某品牌中介兩天做了300萬元的佣金”“我最近手機上每天有不下10個‘戰報’(銷售成功經驗分享)”“週末過來看房大概率得排隊”……春節後上海樓市顯著升溫,看房客活躍了起來,不少新盤售樓處週末的到訪客戶數量可達數百組,中介門店業務員紛紛爲購房者帶看,越來越多人開始談論購房打新。業內人...
本報記者陳雪檸21日記者獲悉,《北京市2023年度建設用地供應計劃》日前經市委市政府審議通過,由市規自委聯合市發改委共同印發實施。2023年計劃安排建設用地供應總量爲3190至3630公頃,與2022年基本持平,並繼續向城市副中心和多點地區傾斜。中心城區供地保持在兩成左右“一核一主一副、兩軸多點...
證券時報記者張達北京市規劃自然資源委今日發佈的《北京市2023年度建設用地供應計劃》(以下簡稱2023年度供地計劃)顯示,北京2023年度計劃安排建設用地供應總量3190~3630公頃,中心城區的供應比例保持在20%左右,重點向城市副中心和多點地區傾斜,供應比率穩定在60%左右。2023年...
據北京日報報道,爲了維護購房者權益,規範房地產市場秩序,2月21日,北京市房山區38個在售樓盤項目以自發聯盟形式自願承諾,購房者在簽訂正式購房合同前提出退房的,30天內定金退還到位。受樓市下行影響,剛需盤扎堆的房山區受影響頗深,此前曾傳出落實“一區一策”、調整認房又認貸的政策,隨後被區一級監管部...
“工期就是成本,進度就是效益”,爲進一步強化示範履約,打造精品工程,2月18日,上海寶冶廣州分公司2023年竣工驗收項目軍令狀簽訂大會暨重點項目專項推進會召開。會議要求各項目以“開局即決戰,起步即衝刺”的幹勁,保持“拼、搶、實”的狀態和作風,咬住目標不放,拼盡全力,跑出更快速度、幹出更高效率,堅決...
在房地產行業支持政策不斷加碼的背景下,地產債市場持續修復。Choice數據顯示,截至2月20日,中證地產債指數近3個月漲近7%,部分龍頭房企債券價格已經翻倍,同期超九成純債私募基金實現正收益。據悉,經過前期的反彈,多家頭部私募選擇止盈部分漲幅較大的地產債。在業內人士看來,前期部分頭部房企債券價格修...
本報記者王麗新爲了維護購房者權益,規範房地產市場秩序,2月21日,北京市房山區38個在售樓盤項目以自發聯盟形式自願承諾,購房者在簽訂正式購房合同前提出退房的,30天內定金退還到位。有業內人士表示,此次北京市房山區在售樓盤的集體承諾,不僅解決了退費難的問題,而且縮短了退費週期,切實保障購房人利益...
北京、長沙、西安等地近期公佈了2023年首批供地清單,其中不少城市拿出一批優質地塊。專家表示,隨着房地產市場預期改善,預計2023年首輪土拍熱度將有所回升,逐漸迴歸銷售帶動投資回暖的良性循環。“上架”優質地塊一線城市中,上海率先公佈2023年首批供應住宅用地詳細清單,最晚將在2023年5月前發佈...
2月21日,中國證券報記者實地走訪北京二手房市場發現,成交量有所放大,成交價整體平穩。爲了促進成交,中介機構推出各種優惠活動,中介費普遍打折。成交量有所放大“我們店現在每月成交14、15套。之前市場好的時候,能成交20多套。目前成交量確實上來了,但市場還沒有熱起來,沒有出現搶房這種現象。”北京...
近日,多家房企發佈2023年1月份銷售數據,百強房企銷售額同比下降三成。弱市中,仍有部分房企銷售額逆勢增長,憑藉業績優勢,在年初土拍市場上積極行動以補充糧草。2023年初,受春節假期、市場活躍度有所下滑的影響,百強房企權益銷售同比普遍下降,據中指研究院數據統計,百強房企權益銷售額爲3025.4...
近日,CBRE世邦魏理仕披露,其協助建發房產和領盛投資管理(LaSalleInvestmentManagement,下同)完成上海建發瓏庭一期8#、9#和10#樓(即上海楊浦新江灣長租公寓項目)的交易。這並非個例。機構統計顯示,今年租賃住宅受投資者關注度較去年大幅上升,在主流物業類型中的排名超過...